Loading...

Series 76 API 520/526/527

Series 76 API 520/526/527

Design Features:
  • Orifice and face-to-face dimensions according to API 526.
  • Adjustable ring for precise pressure adjustment.
  • Screwed Full Nozzle design.
  • Flanges per ANSI B 16.5, with optional ISO PN Flanges.
  • Stellited Nozzle and Disc for enhanced durability.
  • Seat options: Metal to Metal or Metal to Soft.
  • Construction:
  • Body Materials: Carbon Steel, Stainless Steel, Cr Mo Steel, Low-temperature Steel, Nickel Copper Alloy, Alloy 20.
  • Accessories:
  • Balanced Bellows.
  • Test Gag.
  • Lifting Lever.
  • Steam Tracing Jacket.
  • Full Lift, Full Nozzle:
  • Suitable for Steam, Gas, or Liquid Service.
  • Sizes available from 1" to 10".
  • Flanged ANSI 150 to 1500.
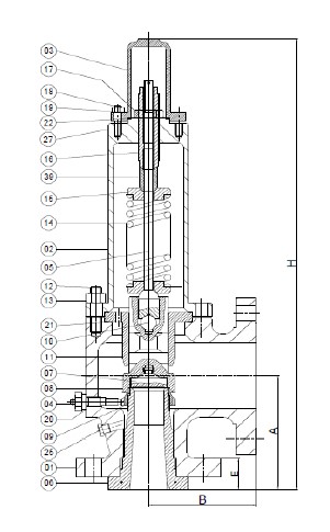
  • Part List (Selected Items):
  • Body, Bonnet, Cap, Adjusting Ring Pin, Spindle, Nozzle, Disc, Disc Holder/Piston, Adjusting Ring, Ball, Guide, Body-Bonnet Bolting Stud, Body-Bonnet Bolting Nut, Spring, Spring Washer, Adjusting Screw, Adjusting Screw Lock Nut, Cap-Bonnet Fastener, Set Screw Gasket, Guide Gasket, Cap Gasket, Plug Gasket, Cap Plug, Drain Plug, Test Gag, Bellow, Bellow Gasket.
  • Part List Materials:

    • Materials vary based on the temperature range: Carbon Steel, Stainless Steel, Corrosive Service, Cr Mo Steel, Low Temperature.

    Sizes and Dimensions (Sample):

    • Orifice Flanges ANSI RF.
    • Max Working Pressure varies by size and class.
    • Dimensions include A, B, E, H.
    • Approximate Weight varies by size.

    Applications:

    • Suitable for a wide range of temperatures and pressures.
    • Versatile applications in industries such as oil and gas, chemical processing, etc.

    Additional Information:

    • Considerations for Cold Differential Test Pressure (CDTP).
    • Spring materials and material temperature range details.
    • Locking arrangement
    • Parts materials specified for different temperature ranges.